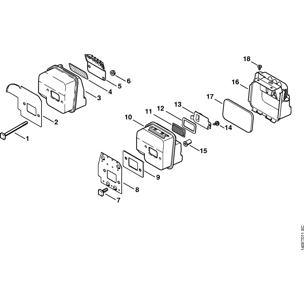
Sơ đồ Bộ căng xích Stihl 018
Thương hiệu:
STIHL
Mã sản phẩm:
Sodo02150
Danh sách phụ tùng trong sơ đồ
| STT | Ảnh minh hoạ | SKU | Chi tiết | Tình trạng | Giá |
|---|---|---|---|---|---|
| 1 | ![]() | 1123 007 1008 | Các Bộ Phận Căng Nhanh (bao Gồm 1 - 15) Stihl 1123 007 1008 | Còn hàng | 1.249.710 ₫ |
| 1 | ![]() | 1123 640 1700 | Nắp Nhông Xích (bao Gồm 2 - 4) Stihl 1123 640 1700 | Còn hàng | 629.310 ₫ |
| 2 | ![]() | 1123 648 3800 | Tấm Bìa Stihl 1123 648 3800 | Còn hàng | 160.710 ₫ |
| 3 | ![]() | 1123 648 2202 | Bánh Xe Điều Chỉnh Stihl 1123 648 2202 | Còn hàng | 102.960 ₫ |
| 5 | ![]() | 1121 660 1000 | Đai Ốc Cánh Stihl 1121 660 1000 | Còn hàng | 411.510 ₫ |
| 10 | ![]() | 1123 664 2402 | Vít Cổ Áo STIHL 1123 664 2402 | Còn hàng | 93.390 ₫ |
| 10 | ![]() | 9104 003 8600 | Vít Tự Khai Thác P3x10 STIHL 9104 003 8600 | Còn hàng | 25.080 ₫ |
| 11 | ![]() | 1123 660 3001 | Thiết Bị Căng Stihl 1123 660 3001 | Còn hàng | 474.540 ₫ |
| 12 | ![]() | 9041 319 0600 | Vít Đầu Chảo M4x5 Stihl 9041 319 0600 | Còn hàng | 21.780 ₫ |
| 13 | ![]() | 1123 664 0501 | Gai Cản Stihl 1123 664 0501 | Còn hàng | 121.110 ₫ |
| 15 | ![]() | 1123 021 2800 | Chèn Stihl 1123 021 2800 | Còn hàng | 108.900 ₫ |
| 22 | ![]() | 9075 478 4115 | Vít tự khai thác đầu Pan Is-D5x16 | Còn hàng | 29.040 ₫ |
| 24 | ![]() | 0812 370 1000 | Tua Vít T27x120x70 STIHL 0812 370 1000 | Còn hàng | 43.560 ₫ |
Mô tả
Sơ đồ Bộ căng xích Stihl 018
Stihl cung cấp sơ đồ chi tiết giúp người dùng dễ dàng nhận biết vị trí và mã phụ tùng chính xác cho từng bộ phận của máy. Mỗi chi tiết đều được hiển thị trực quan, hỗ trợ việc tra cứu và đặt hàng nhanh chóng.
Ưu điểm của sơ đồ
- Minh họa rõ ràng từng cụm chi tiết – giúp việc lắp ráp và bảo trì thuận tiện hơn.
- Phụ tùng chính hãng đảm bảo độ khớp và hiệu năng tối ưu.
- Tích hợp sẵn danh sách mã linh kiện để đặt hàng trực tiếp trên website.
Hướng dẫn sử dụng
Chọn từng chi tiết trong sơ đồ để xem tên linh kiện, mã hàng (SKU), và giá bán tương ứng. Nếu không chắc về mã phụ tùng, hãy liên hệ bộ phận kỹ thuật của Máy Số 1 Việt Nam để được hỗ trợ miễn phí.
Toàn bộ dữ liệu được biên soạn dựa trên sơ đồ chính hãng Stihl, đảm bảo độ chính xác cao và tương thích hoàn toàn với thiết bị gốc.
Sản phẩm được phân phối chính hãng bởi CÔNG TY TNHH THIẾT BỊ CÔNG NGHIỆP HÀ HOÀNG PHÁT. Chúng tôi tự hào là đối tác ủy quyền của hơn 50 thương hiệu hàng đầu thế giới (Makita, Bosch, Dewalt, Stanley, Jasic…). Cam kết 100% sản phẩm có đầy đủ CO/CQ, hóa đơn VAT và bảo hành chính hãng.
Giấy phép kinh doanh: 0313098297
Hotline: 0912.383.327
Email: maymocchinhhang@gmail.com
Địa chỉ: 183/46/5 Đường số 10, Phường 8, Quận Gò Vấp, Thành phố Hồ Chí Minh
Website: maymocchinhhang.com
Chính sách đổi trả
Lý do đổi trả hàng
+ Sản phẩm lỗi, hỏng do quá trình sản xuất hoặc vận chuyển
+ Nằm trong chính sách đổi trả sản phẩm của Máy Móc Chính Hãng
Thời gian đổi trả
Điều kiện về thời gian đổi trả: trong vòng 30 ngày kể từ khi nhận được hàng và phải liên hệ gọi ngay cho chúng tôi theo số điện thoại trên để được xác nhận đổi trả hàng. Nếu không yêu cầu sẽ không được chấp nhận.

















