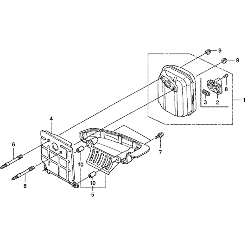
Sơ đồ Bộ chế hòa khí C3A-S39 cho Stihl MS360C

Thương hiệu: STIHL
Mã sản phẩm: Sodo01401

Danh sách phụ tùng trong sơ đồ

STTẢnh minh hoạSKUChi tiếtTình trạngGiá
1Bộ Phụ Tùng Chế Hòa Khí (bao Gồm 7 - 9, 12 - 14, 17, 18) Stihl 1128 007 10651128 007 1065Bộ Phụ Tùng Chế Hòa Khí (bao Gồm 7 - 9, 12 - 14, 17, 18) Stihl 1128 007 1065Còn hàng1.330.890 
1Van Phun 0,58 Stihl 1125 121 54081125 121 5408Van Phun 0,58 Stihl 1125 121 5408Còn hàng266.310 
4Bìa Cuối Stihl 1125 121 08021125 121 0802Bìa Cuối Stihl 1125 121 0802Còn hàng471.900 
4Đầu vào kim4116 121 5100Đầu vào kimCòn hàng296.340 
5Gioăng Stihl 1125 129 09001125 129 0900Gioăng Stihl 1125 129 0900Còn hàng66.000 
6Màng Bơm Stihl 1128 121 48021128 121 4802Màng Bơm Stihl 1128 121 4802Còn hàng411.510 
9Collar screw1120 122 6601Collar screwCòn hàng114.840 
9Vít đầu tròn1125 122 7403Vít đầu trònCòn hàng121.110 
10Clip điện tử1125 122 9001Clip điện tửCòn hàng62.370 
13Nút Cốc Stihl 1123 121 07001123 121 0700Nút Cốc Stihl 1123 121 0700Còn hàng105.600 
14Gioăng Stihl 1125 129 09011125 129 0901Gioăng Stihl 1125 129 0901Còn hàng66.000 
14Vít đầu hình bầu dục1120 122 7800Vít đầu hình bầu dụcCòn hàng121.110 
15Màng Chắn Đo Sáng Stihl 1125 121 47001125 121 4700Màng Chắn Đo Sáng Stihl 1125 121 4700Còn hàng411.510 
16Bìa Cuối Stihl 1125 121 08041125 121 0804Bìa Cuối Stihl 1125 121 0804Còn hàng427.680 
16Mùa xuân1120 122 3004Mùa xuânCòn hàng69.630 
17Cần điều khiển đầu vào1125 121 5000Cần điều khiển đầu vàoCòn hàng90.750 
18Con quay1120 121 9200Con quayCòn hàng43.560 
18Round head screw1125 122 7402Round head screwCòn hàng121.110 
19Màn Trập Bướm Ga Stihl 1125 121 33011125 121 3301Màn Trập Bướm Ga Stihl 1125 121 3301Còn hàng121.110 
19Vít cổ áo1120 122 6600Vít cổ áoCòn hàng114.840 
21Lò Xo Xoắn Stihl 1125 122 32021125 122 3202Lò Xo Xoắn Stihl 1125 122 3202Còn hàng36.300 
22Trục Bướm Ga Có Cần Gạt Stihl 1125 120 71011125 120 7101Trục Bướm Ga Có Cần Gạt Stihl 1125 120 7101Còn hàng465.960 
24Lò Xo Xoắn Stihl 1125 122 32031125 122 3203Lò Xo Xoắn Stihl 1125 122 3203Còn hàng36.300 
26Bộ lọc1123 121 7800Bộ lọcCòn hàng90.750 
27Vít Tốc Độ Không Tải Stihl 1125 122 62001125 122 6200Vít Tốc Độ Không Tải Stihl 1125 122 6200Còn hàng286.110 
30Kẹp1125 122 4200KẹpCòn hàng49.830 
31Màn Trập Nghẹt Stihl 1125 121 29011125 121 2901Màn Trập Nghẹt Stihl 1125 121 2901Còn hàng85.470 
34E-clip1125 122 9003E-clipCòn hàng62.370 
Mô tả

Sơ đồ Bộ chế hòa khí C3A-S39 cho Stihl MS360C

Stihl cung cấp sơ đồ chi tiết giúp người dùng dễ dàng nhận biết vị trí và mã phụ tùng chính xác cho từng bộ phận của máy. Mỗi chi tiết đều được hiển thị trực quan, hỗ trợ việc tra cứu và đặt hàng nhanh chóng.

Ưu điểm của sơ đồ

  • Minh họa rõ ràng từng cụm chi tiết – giúp việc lắp ráp và bảo trì thuận tiện hơn.
  • Phụ tùng chính hãng đảm bảo độ khớp và hiệu năng tối ưu.
  • Tích hợp sẵn danh sách mã linh kiện để đặt hàng trực tiếp trên website.

Hướng dẫn sử dụng

Chọn từng chi tiết trong sơ đồ để xem tên linh kiện, mã hàng (SKU), và giá bán tương ứng. Nếu không chắc về mã phụ tùng, hãy liên hệ bộ phận kỹ thuật của Máy Số 1 Việt Nam để được hỗ trợ miễn phí.

Toàn bộ dữ liệu được biên soạn dựa trên sơ đồ chính hãng Stihl, đảm bảo độ chính xác cao và tương thích hoàn toàn với thiết bị gốc.

Sản phẩm được phân phối chính hãng bởi CÔNG TY TNHH THIẾT BỊ CÔNG NGHIỆP HÀ HOÀNG PHÁT. Chúng tôi tự hào là đối tác ủy quyền của hơn 50 thương hiệu hàng đầu thế giới (Makita, Bosch, Dewalt, Stanley, Jasic…). Cam kết 100% sản phẩm có đầy đủ CO/CQ, hóa đơn VAT và bảo hành chính hãng.
Giấy phép kinh doanh: 0313098297
Hotline: 0912.383.327
Email: maymocchinhhang@gmail.com
Địa chỉ: 183/46/5 Đường số 10, Phường 8, Quận Gò Vấp, Thành phố Hồ Chí Minh
Website: maymocchinhhang.com

Lý do đổi trả hàng
+ Sản phẩm lỗi, hỏng do quá trình sản xuất hoặc vận chuyển
+ Nằm trong chính sách đổi trả sản phẩm của Máy Móc Chính Hãng
Thời gian đổi trả
Điều kiện về thời gian đổi trả: trong vòng 30 ngày kể từ khi nhận được hàng và phải liên hệ gọi ngay cho chúng tôi theo số điện thoại trên để được xác nhận đổi trả hàng. Nếu không yêu cầu sẽ không được chấp nhận.

Zalo Gọi điện